
As fleets everywhere work on cutting fuel expenses, one strategy is shedding pounds anywhere they can stand to lose them. “Most fleets that are fuel conscientious are weight conscientious. The heavier the unit weighs, the higher cost per mile to operate it."
Read More →
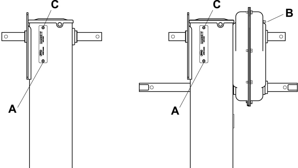
East Manufacturing announced that Jost International’s AX150 Alumilight Series of Landing Gear will be standard on all East BST, BST II, MMX and Narrow Neck flatbed trailers and all BST, BST II and XLD drop deck trailers.
Read More →SAF-Holland announced that it will be offering a Lifetime Warranty on its Holland Atlas 55, Atlas 65 and Mark V landing gear. The Lifetime Warranty covers defects in material and workmanship for as long as a customer owns the trailer, and is part of the 10-Year NoLube landing gear option.
Read More →
Periodically adding grease to your landing gear should be part of your preventive maintenance program and should be done every six months or more often, if required.
Read More →